アドバンストキーレスエントリー&パワースイッチシステムはキーを取り出すことなく、ドア、トランクの施錠/解錠、ハイブリッドシステムの始動/停止をすることができます。また、リモートコントロール機能により、キーのスイッチを押して、ドア、トランクの施錠/解錠ができます。
→参照「キーによる施錠/解錠」
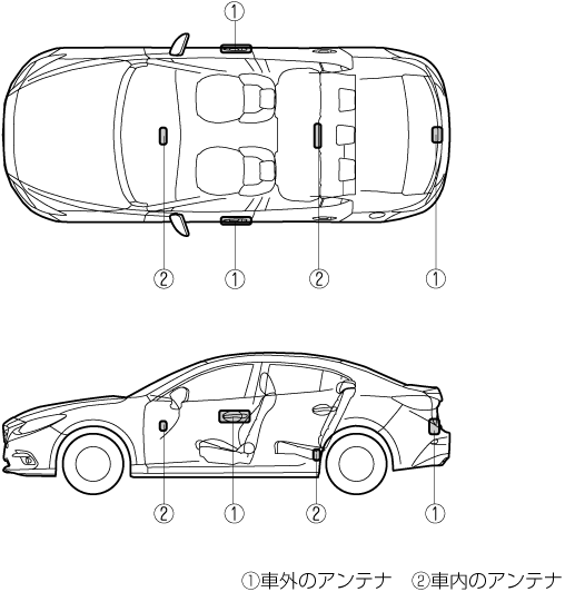
機能の作動範囲
キーを携帯し、車内および車外の作動範囲に入り、所定の操作をしたときのみ作動します。

次の場合、キーの作動範囲がせまくなったり、作動しない場合があります。
電池が消耗しているとき
電池交換の目安は参照をお読みください。
強い電波、ノイズのある場所
窓ガラスやドアハンドル、トランクに近づきすぎた場合
次のような場所にキーを置くと、ハイブリッドシステムの始動ができない場合があります。
インストルメントパネルの周辺
グローブボックスや小物入れなど
リアパッケージトリムの上
次のような場所にキーを置いたまま車外に出ると、電波の状況によっては、キーが車内にあってもドアが施錠される場合があります。
インストルメントパネルの周辺
グローブボックスや小物入れなど
リアパッケージトリムの上
携帯電話などの通信機器の近く
荷室は作動範囲外ですが、ハイブリッドシステムの始動が可能になることがあります。
車外でも、ドアや窓ガラスに近づきすぎた場合は、ハイブリッドシステムの始動が可能になることがありますが、ハイブリッドシステムの始動は必ず運転席で行なってください。
先頭へ