

各画面へのスイッチ操作と、コマンダー操作ができます。
コマンダースイッチを包み込むように持つと各画面へのスイッチに指がかかります。
手元を見なくても、各画面に切り替えることができます。
コマンダースイッチ
スイッチの形状は仕様により異なります。
Aタイプ

|
No. |
アイテム |
説明 |
|---|---|---|
|
1 |
![]() 音量ノブ |
音量調節 音量ノブをまわして音量を調節します。 音声ガイダンスされているときに音量調節すると、音声ガイダンスの音量変更となります。 ハンズフリーで通話しているときに音量調節すると、通話音量の変更になります。
消音(一時停止) 音量ノブを押すと消音できます。もう一度音量ノブを押すと、消音が解除されます。 Apple CarPlay、USBオーディオ、Bluetooth®オーディオなど一時停止が可能なオーディオソースを再生中に音量ノブを押して消音すると、音楽は一時停止します。もう一度音量ノブを押すと消音が解除され、同時に一時停止も解除されます。
電源OFF/ON*1 長押しすると、マツダコネクトの電源がOFFになり、画面が消えます。 (Aタイプ) もう一度長押しすると、マツダコネクトの電源がONになります。 (Bタイプ) もう一度押すと、マツダコネクトの電源がONになります。 マツダコネクトの電源がOFFのときに、コマンダースイッチを押すとマツダコネクトの電源がONになります。
選局 (FM/AMラジオ) FM/AMラジオを聞いているときに音量ノブを左右にスライドさせて、お気に入りに登録している放送局を呼び出すことができます。放送局は、音量ノブをスライドさせるたびに切り替わります。 また、ピッと音がするまで長押しすると自動選局を始めます。放送を受信すると止まります。 (テレビ) テレビを視聴しているときに音量ノブを左右にスライドさせて、チャンネルリスト順に放送局を呼び出すことができます。放送局は、音量ノブをスライドさせるたびに切り替わります。
頭出し オーディオやビデオを再生中にボタンを操作すると、曲やビデオファイルの頭出しをすることができます。 音量ノブを右にスライドさせると次の曲の頭に進み、左にスライドさせると前の曲の頭にもどります (曲順は選択しているファイルリスト順です)。 |
|
2 |
![]() オーディオボタン |
最後に再生されたオーディオソース画面が表示されます。
(Apple CarPlay/Android Auto™音楽再生中) Apple CarPlay/Android Auto™の再生画面を表示します。 |
|
3 |
![]() コマンダーノブ (選択) |
コマンダーノブをまわす、または、スライドさせて使いたい機能を選択します。 |
|
4 |
![]() コマンダーノブ (決定) |
コマンダーノブを押して使いたい機能を決定します。 |
|
5 |
![]() タッチパッド (選択) |
文字入力画面とナビゲーションシステムの地図上の移動、拡大、縮小に使用できます。 |
|
6 |
![]() マップボタン |
ナビゲーション画面を表示します (ナビゲーションシステム装備車)。 ナビゲーションシステムを機能させるには、ナビゲーションシステム用SDカードが必要となります。 ナビゲーションシステム用SD カードが差し込まれていない場合は、車両の進行方向を示すコンパスが表示されます。 ナビゲーションシステムの操作については、ナビゲーションシステム取扱書をご覧ください。
(Apple CarPlay/Android Auto™ルート案内中) Apple CarPlay/Android Auto™のマップ画面を表示します。 |
|
7 |
![]() バックボタン |
前の画面にもどります。 |
|
8 |
![]() ホームボタン |
ホーム画面を表示します。
(Apple CarPlay/Android Auto™表示中) Apple CarPlay/Android Auto™のホーム画面を表示します。
(Apple CarPlay/Android Auto™接続中) マツダコネクトの画面を表示しているときに長押しすると、Apple CarPlayまたはAndroid Auto™の画面に切り替わります。またApple CarPlayまたはAndroid Auto™の画面を表示しているときに長押しすると、マツダコネクトの画面に切り替わります。 |
|
9 |
![]() お気に入りボタン |
お気に入り画面を表示します。 長押しすると、そのとき画面に表示している連絡先や放送局、ナビゲーションの地点などをお気に入りに登録できます。 |
車種や車両の生産時期によって、電源OFF/ONの方法が異なります。
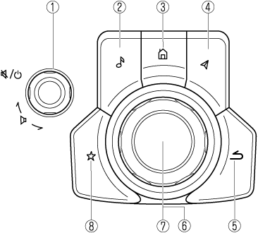
Bタイプ

Cタイプ

|
No. |
アイテム |
説明 |
|---|---|---|
|
1 |
![]() 音量ノブ |
音量調節 音量ノブをまわして音量を調節します。 音声ガイダンスされているときに音量調節すると、音声ガイダンスの音量変更となります。 ハンズフリーで通話しているときに音量調節すると、通話音量の変更になります。
消音(一時停止) 音量ノブを押すと消音できます。もう一度音量ノブを押すと、消音が解除されます。 Apple CarPlay、USBオーディオ、Bluetooth®オーディオなど一時停止が可能なオーディオソースを再生中に音量ノブを押して消音すると、音楽は一時停止します。もう一度音量ノブを押すと消音が解除され、同時に一時停止も解除されます。
電源OFF/ON*1 長押しすると、マツダコネクトの電源がOFFになり、画面が消えます。 (Aタイプ) もう一度長押しすると、マツダコネクトの電源がONになります。 (Bタイプ) もう一度押すと、マツダコネクトの電源がONになります。 マツダコネクトの電源がOFFのときに、コマンダースイッチを押すとマツダコネクトの電源がONになります。 |
|
2 |
![]() オーディオボタン |
最後に再生されたオーディオソース画面が表示されます。
(Apple CarPlay/Android Auto™音楽再生中) Apple CarPlay/Android Auto™の再生画面を表示します。 |
|
3 |
![]() ホームボタン |
ホーム画面を表示します。
(Apple CarPlay/Android Auto™表示中) Apple CarPlay/Android Auto™のホーム画面を表示します。
(Apple CarPlay/Android Auto™接続中) マツダコネクトの画面を表示しているときに長押しすると、Apple CarPlayまたはAndroid Auto™の画面に切り替わります。またApple CarPlayまたはAndroid Auto™の画面を表示しているときに長押しすると、マツダコネクトの画面に切り替わります。 |
|
4 |
![]() マップボタン |
ナビゲーション画面を表示します (ナビゲーションシステム装備車)。 ナビゲーションシステムを機能させるには、ナビゲーションシステム用SDカードが必要となります。 ナビゲーションシステム用SD カードが差し込まれていない場合は、車両の進行方向を示すコンパスが表示されます。 ナビゲーションシステムの操作については、ナビゲーションシステム取扱書をご覧ください。
(Apple CarPlay/Android Auto™ルート案内中) Apple CarPlay/Android Auto™のマップ画面を表示します。 |
|
5 |
![]() バックボタン |
前の画面にもどります。 |
|
6 |
![]() コマンダーノブ (選択) |
コマンダーノブをまわす、または、スライドさせて使いたい機能を選択します。 |
|
7 |
![]() コマンダーノブ (決定) |
コマンダーノブを押して使いたい機能を決定します。 |
|
8 |
![]() お気に入りボタン |
お気に入り画面を表示します。 長押しすると、そのとき画面に表示している連絡先や放送局、ナビゲーションの地点などをお気に入りに登録できます。 |
車種や車両の生産時期によって、電源OFF/ONの方法が異なります。

先頭へ